節流裝置的安裝管段
分類:CAF資訊 發布時間:2011-09-26 14:10:59
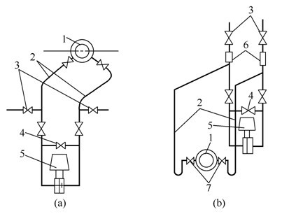
1,2,5-局部阻力件,3-節流件,4-引壓管導壓管要正確地安裝,防止堵塞與滲漏,否則會引起較大的測量誤差。對于不同的被測介質, 渦輪流量計 導壓管的安裝亦有不同的要求,下面分類討論。 圖3-4 測量液體流量時的連接圖1節流裝置;2引壓導管;3放空閥;4平衡
1,2,5-局部阻力件,3-節流件,4-引壓管導壓管要正確地安裝,防止堵塞與滲漏,否則會引起較大的測量誤差。對于不同的被測介質,渦輪流量計導壓管的安裝亦有不同的要求,下面分類討論。


圖3-4 測量液體流量時的連接圖 1—節流裝置;2—引壓導管;3—放空閥;4—平衡閥;5—差壓變送器;6—貯氣罐;7—切斷閥
v導壓管要正確地安裝,防止堵塞與滲漏,否則會引起較大的測量誤差。電磁流量計對于不同的被測介質,導壓管的安裝亦有不同的要求,下面分類討論。
v①取壓點應該位于節流裝置的下半部,與水平線夾角α為0°~45°。
②引壓導管最好垂直向下,如條件不許可,導壓管亦應下傾一定坡度(至少1∶20~1∶10),使氣泡易于排出。
③在引壓導管的管路中,應有排氣的裝置。
v2)測量氣體流量時,上述的這些基本原則仍然適用。
①取壓點應在節流裝置的上半部。
②引壓導管最好垂直向上,超聲波流量計至少亦應向上傾斜一定的坡度,以使引壓導管中不滯留液體。
③如果差壓計必須裝在節流裝置之下,則需加裝貯液罐和排放閥,如圖3-5所示。
(3)測量蒸汽的流量時,要實現上述的基本原則,必須解決蒸汽冷凝液的等液位問題,以消除冷凝液液位的高低對測量精度的影響。物位計常見的接法見圖3-6所示。

