節流式流量測量系統
分類:技術文章 發布時間:2011-09-23 13:11:36
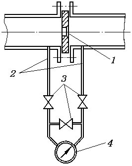
v1-節流元件 v2-引壓管路 v3-三閥組 v4-差壓計

v1-節流元件
v2-引壓管路
v3-三閥組
v4-差壓計
標準噴嘴分ISA 1932噴嘴(左圖)和長徑噴嘴兩種。噴嘴在管道內的部分是圓的,電磁流量計由圓弧形的收縮部分和圓筒形喉部組成。
適用范圍:
50≤D≤500mm,0.30≤β≤0.80。
當0.30≤β≤0.44時, 7×104≤ReD≤107;
當0.44≤β≤0.80時, 2×104≤ReD≤107。音叉物位開關
