科里奧利質量流量計
分類:技術文章 發布時間:2011-10-12 16:55:27
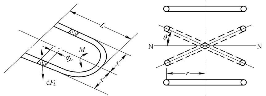
科里奧利質量流量計 (簡稱CMF)是利用流體在振動管中流動時, 音叉物位開關 產生與質量流量成正比的科里奧利力而制成的一種直接式質量流量儀表。 (一)基本結構和工作原理 雙U形科里奧利流量傳感器的結構如下圖: 工作原理 如圖,被測流體從U形管流過,其流動
科里奧利質量流量計(簡稱CMF)是利用流體在振動管中流動時,音叉物位開關產生與質量流量成正比的科里奧利力而制成的一種直接式質量流量儀表。
(一)基本結構和工作原理
雙U形科里奧利流量傳感器的結構如下圖:

工作原理
如圖,被測流體從U形管流過,其流動方向與振動方向垂直,由理論力學可知,e碼射頻物位開關 當某一質量為m的物體在旋轉(在此為振動)參考系中以速度u運動時,將受到一個力的作用(∝m),從而在直管段產生扭矩 ,在該力矩作用下,U形管產生扭矩轉角θ(∝qm)。通過測量磁致伸縮變送器U形管兩端管通過振動中心N-N所需的時間差即可測量得到qm。
